Kalorimetr Teploviki Enciklopediya Otopleniya

Kalorimetr Teploviki Enciklopediya Otopleniya

Fakultativ K Uchebniku Fizika 7 9 Avtora I V Krivchenko

Fakultativ K Uchebniku Fizika 7 9 Avtora I V Krivchenko

Proveryalki Fizika 7 8 9 Klassy Umk Krivchenko I V

Proveryalki Fizika 7 8 9 Klassy Umk Krivchenko I V

Opyt 1 Opredelenie Vodyanogo Chisla Kalorimetra

Opyt 1 Opredelenie Vodyanogo Chisla Kalorimetra

Eksperimentalnaya Chast Opredelenie Teploty Rastvoreniya Soli Studopediya

Eksperimentalnaya Chast Opredelenie Teploty Rastvoreniya Soli Studopediya

Srochno Nuzhna Pomosh Dlya Opredeleniya Teploemkosti Masla Ispolzuetsya Kalorimetr Principialnaya Shkolnye Znaniya Com

Srochno Nuzhna Pomosh Dlya Opredeleniya Teploemkosti Masla Ispolzuetsya Kalorimetr Principialnaya Shkolnye Znaniya Com

Srochno Nuzhna Pomosh Dlya Opredeleniya Teploemkosti Masla Ispolzuetsya Kalorimetr Principialnaya Shkolnye Znaniya Com

Kalorimetr Vikipediya

Kalorimetr Vikipediya

Kalorimetriya Enciklopediya Krugosvet

Kalorimetriya Enciklopediya Krugosvet

Fakultativ K Uchebniku Fizika 7 9 Avtora I V Krivchenko

Fakultativ K Uchebniku Fizika 7 9 Avtora I V Krivchenko

Kalorimetr

Kalorimetr

Kafedra Fizhimii Yufu Rgu Praktikum Po Fizicheskoj Himii Kalorimetriya

Kafedra Fizhimii Yufu Rgu Praktikum Po Fizicheskoj Himii Kalorimetriya

N I Chichikalo M A Aleksandrova Issledovanie Beskontaktnogo Metoda Opredeleniya Teplotvornoj Sposobnosti Gaza

N I Chichikalo M A Aleksandrova Issledovanie Beskontaktnogo Metoda Opredeleniya Teplotvornoj Sposobnosti Gaza

Kalorimetr Adiabaticheskij Shema Megaenciklopediya Kirilla I Mefodiya Mediaobekt

Kalorimetr Adiabaticheskij Shema Megaenciklopediya Kirilla I Mefodiya Mediaobekt

Eksperimentalnaya Chast Opredelenie Izmeneniya Entalpii Rastvoreniya Bezvodnoj Soli Opredelenie Izmeneniya Entalpii Reakcii Nejtralizacii Silnoj Kisloty Silnym Osnovaniem Opredelenie N Reakcii Nejtralizacii Slaboj Kisloty Silnym Osnovaniem

Eksperimentalnaya Chast Opredelenie Izmeneniya Entalpii Rastvoreniya Bezvodnoj Soli Opredelenie Izmeneniya Entalpii Reakcii Nejtralizacii Silnoj Kisloty Silnym Osnovaniem Opredelenie N Reakcii Nejtralizacii Slaboj Kisloty Silnym Osnovaniem

Kalorimetr Vikipediya

Kalorimetr Vikipediya

M A Aleksandrova Opredelenie Teplotvornoj Sposobnosti Topliva S Pomoshyu Kalorimetricheskoj Kislorodnoj Bomby

M A Aleksandrova Opredelenie Teplotvornoj Sposobnosti Topliva S Pomoshyu Kalorimetricheskoj Kislorodnoj Bomby

Kalorimetriya

Kalorimetriya

Struktura Elementov Detektora Atlas

Struktura Elementov Detektora Atlas

Kalorimetr Eto Chto Takoe Kalorimetr

Kalorimetr Eto Chto Takoe Kalorimetr

Kalorimetr Peremennoj Temperatury S Izotermicheskoj Obolochkoj

Kalorimetr Peremennoj Temperatury S Izotermicheskoj Obolochkoj

Apparatura I Metodika Kalorimetricheskih Izmerenij Ustrojstvo Kalorimetra

Apparatura I Metodika Kalorimetricheskih Izmerenij Ustrojstvo Kalorimetra

Https Standartgost Ru G D0 93 D0 9e D0 A1 D0 A2 147 2013 Pdf

Https Standartgost Ru G D0 93 D0 9e D0 A1 D0 A2 147 2013 Pdf

Kalorimetr Peremennoj Temperatury Varianty Patent Rf 2529664 Inozemcev Yaroslav Olegovich Inozemcev Aleksej Vyacheslavovich Zhilcov Igor Aleksandrovich Matyushin Yurij Nikolaevich Vorobev Aleksej Borisovich

Kalorimetr Peremennoj Temperatury Varianty Patent Rf 2529664 Inozemcev Yaroslav Olegovich Inozemcev Aleksej Vyacheslavovich Zhilcov Igor Aleksandrovich Matyushin Yurij Nikolaevich Vorobev Aleksej Borisovich

Kalorimetr Fizicheskij Enciklopedicheskij Slovar

Kalorimetr Fizicheskij Enciklopedicheskij Slovar

Kalorimetr Smeshenie Bolshaya Enciklopediya Nefti I Gaza Statya Stranica 1

Kalorimetr Smeshenie Bolshaya Enciklopediya Nefti I Gaza Statya Stranica 1

Gost 23250 78 Materialy Stroitelnye Metod Opredeleniya Udelnoj Teploemkosti

Gost 23250 78 Materialy Stroitelnye Metod Opredeleniya Udelnoj Teploemkosti

Kalorimetr

Kalorimetr

Kalorimetr

Kalorimetr

Kalorimetry Fazovogo Perehoda Zhidkost Gaz Enciklopediya Po Mashinostroeniyu Xxl

Kalorimetry Fazovogo Perehoda Zhidkost Gaz Enciklopediya Po Mashinostroeniyu Xxl

Bombovyj Kalorimetr Peremennoj Temperatury Dlya Opredeleniya Udelnoj Obemnoj Teploty Sgoraniya Goryuchego Gaza

Bombovyj Kalorimetr Peremennoj Temperatury Dlya Opredeleniya Udelnoj Obemnoj Teploty Sgoraniya Goryuchego Gaza

V Kalorimetr Pomestili Led I Vklyuchili Nagrevatel Na Risunke Priveden Grafik Zavisimosti Shkolnye Znaniya Com

V Kalorimetr Pomestili Led I Vklyuchili Nagrevatel Na Risunke Priveden Grafik Zavisimosti Shkolnye Znaniya Com

Ustrojstvo Kalorimetra Spravochnik Himika 21

Ustrojstvo Kalorimetra Spravochnik Himika 21

Rashodomer Datchik Distancionnyj Izmeritel Moshnosti Chtenie Forum Ultrazvukovoj Kalorimetr Risunok Buy Datchik Rashodomera Distancionnyj Izmeritel Moshnosti Dlya Chteniya Ultrazvukovoj Kalorimetr Dlya Risovaniya Product On Alibaba Com

Rashodomer Datchik Distancionnyj Izmeritel Moshnosti Chtenie Forum Ultrazvukovoj Kalorimetr Risunok Buy Datchik Rashodomera Distancionnyj Izmeritel Moshnosti Dlya Chteniya Ultrazvukovoj Kalorimetr Dlya Risovaniya Product On Alibaba Com

Oge 2021 Fizika Zadaniya Otvety Resheniya Obuchayushaya Sistema Dmitriya Gushina

Oge 2021 Fizika Zadaniya Otvety Resheniya Obuchayushaya Sistema Dmitriya Gushina

Kalorimetr S Reakcionnym Kontejnerom I Vodyanoj Rubashkoj

Kalorimetr S Reakcionnym Kontejnerom I Vodyanoj Rubashkoj

Kalorimetr

Kalorimetr

Struktura Elementov Detektora Atlas

Struktura Elementov Detektora Atlas

Adiabaticheskij Kalorimetr

Adiabaticheskij Kalorimetr

Struktura Elementov Detektora Atlas

Struktura Elementov Detektora Atlas

Fizika 2 Zalejte V Kalorimetr 100 Sm3 Goryachej Vody 3 Opredelite Temperaturu Goryachej Vody Shkolnye Znaniya Com

Fizika 2 Zalejte V Kalorimetr 100 Sm3 Goryachej Vody 3 Opredelite Temperaturu Goryachej Vody Shkolnye Znaniya Com

Opredelenie Teploty Sgoraniya Gaza

Opredelenie Teploty Sgoraniya Gaza

Reshenie 3144 V Kalorimetr S Vodoj Dobavili Lyod Na Risunke Predstavleny Grafiki Zavisimosti Temperatury Ot Vremeni Dlya Vody I Lda V Kalorimetre Teploobmen S Okruzhayushej Sredoj Prenebrezhimo Mal Ispolzuya Tekst I

Reshenie 3144 V Kalorimetr S Vodoj Dobavili Lyod Na Risunke Predstavleny Grafiki Zavisimosti Temperatury Ot Vremeni Dlya Vody I Lda V Kalorimetre Teploobmen S Okruzhayushej Sredoj Prenebrezhimo Mal Ispolzuya Tekst I

Novyj Elektromagnitnyj Kalorimetr Dlya Eksperimenta Compass V Cerne Obedinennyj Institut Yadernyh Issledovanij

Novyj Elektromagnitnyj Kalorimetr Dlya Eksperimenta Compass V Cerne Obedinennyj Institut Yadernyh Issledovanij

Https Files Stroyinf Ru Data 729 72996 Pdf

Https Files Stroyinf Ru Data 729 72996 Pdf

Ionizacionnyj Kalorimetr Fizicheskaya Enciklopediya

Ionizacionnyj Kalorimetr Fizicheskaya Enciklopediya

Baza Dannyh Energosberezhenie Rossii

Baza Dannyh Energosberezhenie Rossii

Https Files Stroyinf Ru Data 729 72996 Pdf

Https Files Stroyinf Ru Data 729 72996 Pdf

Gost 23250 78 Materialy Stroitelnye Metod Opredeleniya Udelnoj Teploemkosti

Gost 23250 78 Materialy Stroitelnye Metod Opredeleniya Udelnoj Teploemkosti

Kalorimetr Patent Rf 2073886 Bicadze Georgij Sergeevich Ru Masaaki Kobayashi Jp Rykalin Vladimir Ivanovich Ru

Kalorimetr Patent Rf 2073886 Bicadze Georgij Sergeevich Ru Masaaki Kobayashi Jp Rykalin Vladimir Ivanovich Ru

Kalorimetr Impulsnogo Ioniziruyushego Izlucheniya

Kalorimetr Impulsnogo Ioniziruyushego Izlucheniya

Rekonstrukciya Fotonov I Energeticheskaya Kalibrovka Cilindricheskogo Kalorimetra Detektora Kmd 3

Rekonstrukciya Fotonov I Energeticheskaya Kalibrovka Cilindricheskogo Kalorimetra Detektora Kmd 3

Gost 23250 78 Metod Opredeleniya Udelnoj Teploemkosti

Gost 23250 78 Metod Opredeleniya Udelnoj Teploemkosti

Kalorimetr Su 744251

Kalorimetr Su 744251

2

2

Ledyanoj Kalorimetr Ili Kak Nauchilis Izmeryat Teplotu Nauka Tehnika I Lyudi Yandeks Dzen

Ledyanoj Kalorimetr Ili Kak Nauchilis Izmeryat Teplotu Nauka Tehnika I Lyudi Yandeks Dzen

Bombovyj Kalorimetr Dlya Opredeleniya Teploty Sgoraniya Topliva Varianty Patent Rf 2334961 Inozemcev Yaroslav Olegovich Vorobev Aleksej Borisovich Matyushin Yurij Nikolaevich Zhilcov Igor Aleksandrovich Koshmanov Dmitrij Evgenevich

Bombovyj Kalorimetr Dlya Opredeleniya Teploty Sgoraniya Topliva Varianty Patent Rf 2334961 Inozemcev Yaroslav Olegovich Vorobev Aleksej Borisovich Matyushin Yurij Nikolaevich Zhilcov Igor Aleksandrovich Koshmanov Dmitrij Evgenevich

2

2

Zhidkostnyj Staticheskij Kalorimetr

Zhidkostnyj Staticheskij Kalorimetr

Vysokochuvstvitelnyj Adiabaticheskij Kalorimetr Dlya Izmereniya Entalpij Rastvoreniya Spravochnik Himika 21

Vysokochuvstvitelnyj Adiabaticheskij Kalorimetr Dlya Izmereniya Entalpij Rastvoreniya Spravochnik Himika 21

Https Files Stroyinf Ru Data 729 72996 Pdf

Https Files Stroyinf Ru Data 729 72996 Pdf

Kalorimetry Diaem

Kalorimetry Diaem

Gost R Iso 12127 2 2011 Sistema Standartov Bezopasnosti Truda Odezhda Dlya Zashity Ot Tepla I Plameni Opredelenie Kontaktnoj Teploperedachi Cherez Zashitnuyu Odezhdu Ili Sostavlyayushie Ee Materialy Chast 2 Metod Ispytanij S

Gost R Iso 12127 2 2011 Sistema Standartov Bezopasnosti Truda Odezhda Dlya Zashity Ot Tepla I Plameni Opredelenie Kontaktnoj Teploperedachi Cherez Zashitnuyu Odezhdu Ili Sostavlyayushie Ee Materialy Chast 2 Metod Ispytanij S

Kalorimetr Kipyashij Enciklopediya Po Mashinostroeniyu Xxl

Kalorimetr Kipyashij Enciklopediya Po Mashinostroeniyu Xxl

Https Www Rts Tender Ru Poisk Gost 147 2013

Https Www Rts Tender Ru Poisk Gost 147 2013

2

2

Laboratornaya Rabota 7 Pershina

Laboratornaya Rabota 7 Pershina

Kalorimetr Peremennoj Temperatury Varianty

Kalorimetr Peremennoj Temperatury Varianty

Teploemkost Informacionnyj Portal

Teploemkost Informacionnyj Portal

Kapillyarnyj Titracionnyj Kalorimetr Dlya Issledovaniya Mitohondrij

Kapillyarnyj Titracionnyj Kalorimetr Dlya Issledovaniya Mitohondrij

Https Files Stroyinf Ru Data 729 72996 Pdf

Https Files Stroyinf Ru Data 729 72996 Pdf

Kalorimetr Vikipediya

Kalorimetr Vikipediya

2

2

Reshenie 3344 V Kalorimetr S Vodoj Dobavili Lyod Na Risunke Predstavleny Grafiki Zavisimosti Temperatury Ot Vremeni Dlya Vody I Lda V Kalorimetre Teploobmen S Okruzhayushej Sredoj Prenebrezhimo Mal Ispolzuya Dannye

Reshenie 3344 V Kalorimetr S Vodoj Dobavili Lyod Na Risunke Predstavleny Grafiki Zavisimosti Temperatury Ot Vremeni Dlya Vody I Lda V Kalorimetre Teploobmen S Okruzhayushej Sredoj Prenebrezhimo Mal Ispolzuya Dannye

Gost 27193 86 Gazy Goryuchie Prirodnye Metod Opredeleniya Teploty Sgoraniya Vodyanym Kalorimetrom

Gost 27193 86 Gazy Goryuchie Prirodnye Metod Opredeleniya Teploty Sgoraniya Vodyanym Kalorimetrom

Kalorimetr Patent Rf 2392591 Mashkinov Lev Borisovich

Kalorimetr Patent Rf 2392591 Mashkinov Lev Borisovich

V Kalorimetr S Vodoj Dobavili Lyod Na Risunke Predstavleny Grafiki Zavisimosti Temperatury Ot Vremeni Dlya Vody I Lda V Kalorimetre Teploobmen S Okruzhayushej Sredoj Prenebrezhimo Mal Ispolzuya Dannye Grafika Yandeks Repetitor

V Kalorimetr S Vodoj Dobavili Lyod Na Risunke Predstavleny Grafiki Zavisimosti Temperatury Ot Vremeni Dlya Vody I Lda V Kalorimetre Teploobmen S Okruzhayushej Sredoj Prenebrezhimo Mal Ispolzuya Dannye Grafika Yandeks Repetitor

Adiabaticheskij Kalorimetr Dlya Nizkih Temperatur Spravochnik Himika 21

Adiabaticheskij Kalorimetr Dlya Nizkih Temperatur Spravochnik Himika 21

Ahmetshin Ravel Ravilovich Torcevoj Elektromagnitnyj Kalorimetr Na Osnove Kristallov Bgo Dlya Detektora Kmd 3 Pdf Free Download

Ahmetshin Ravel Ravilovich Torcevoj Elektromagnitnyj Kalorimetr Na Osnove Kristallov Bgo Dlya Detektora Kmd 3 Pdf Free Download

Laboratornaya Rabota Opredelenie Standartnoj Teploty Entalpii

Laboratornaya Rabota Opredelenie Standartnoj Teploty Entalpii

Ionizacionnyj Kalorimetr Fizicheskaya Enciklopediya

Ionizacionnyj Kalorimetr Fizicheskaya Enciklopediya

Rekonstrukciya Fotonov I Energeticheskaya Kalibrovka Cilindricheskogo Kalorimetra Detektora Kmd 3

Rekonstrukciya Fotonov I Energeticheskaya Kalibrovka Cilindricheskogo Kalorimetra Detektora Kmd 3

Eksperimentalnaya Ustanovka

Eksperimentalnaya Ustanovka

Kalorimetr Patent Rf 2073886 Bicadze Georgij Sergeevich Ru Masaaki Kobayashi Jp Rykalin Vladimir Ivanovich Ru

Kalorimetr Patent Rf 2073886 Bicadze Georgij Sergeevich Ru Masaaki Kobayashi Jp Rykalin Vladimir Ivanovich Ru

Zhidkostnyj Staticheskij Kalorimetr

Zhidkostnyj Staticheskij Kalorimetr

Fakultativ K Uchebniku Fizika 7 9 Avtora I V Krivchenko

Fakultativ K Uchebniku Fizika 7 9 Avtora I V Krivchenko

Stokovye Vektornye Izobrazheniya Kalorimetr Depositphotos

Stokovye Vektornye Izobrazheniya Kalorimetr Depositphotos

Ustanovka Izmeritelnaya Ltr V Vysokotemperaturnom Kalorimetre Smesheniya Dlya Issledovaniya Teplofizicheskih Harakteristik Veshestv

Ustanovka Izmeritelnaya Ltr V Vysokotemperaturnom Kalorimetre Smesheniya Dlya Issledovaniya Teplofizicheskih Harakteristik Veshestv

Kalorimetr Teploviki Enciklopediya Otopleniya

Kalorimetr Teploviki Enciklopediya Otopleniya

1540book 41 Jpg

1540book 41 Jpg

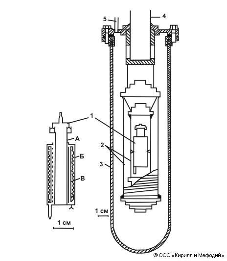
Ris 6 Ustrojstva Dlya Opredeleniya Energeticheskih Ekvivalentov A Pribor Dzhoulya Dlya Izmereniya Mehanicheskogo Ekvivalenta Teploty B Ustanovka Dlya Izmereniya Teplovogo Ekvivalenta Elektricheskoj Energii 1 Kalorimetr 2

Ris 6 Ustrojstva Dlya Opredeleniya Energeticheskih Ekvivalentov A Pribor Dzhoulya Dlya Izmereniya Mehanicheskogo Ekvivalenta Teploty B Ustanovka Dlya Izmereniya Teplovogo Ekvivalenta Elektricheskoj Energii 1 Kalorimetr 2

Issledovanie Radiacionnoj Stojkosti Kristallov Csi Tl Dlya Kalorimetra Belle Ii

Issledovanie Radiacionnoj Stojkosti Kristallov Csi Tl Dlya Kalorimetra Belle Ii

Metody I Sredstva Izmereniya Kolichestva Tepla Life Prog

Metody I Sredstva Izmereniya Kolichestva Tepla Life Prog

M A Aleksandrova Opredelenie Teplotvornoj Sposobnosti Topliva S Pomoshyu Kalorimetricheskoj Kislorodnoj Bomby

M A Aleksandrova Opredelenie Teplotvornoj Sposobnosti Topliva S Pomoshyu Kalorimetricheskoj Kislorodnoj Bomby

Izotermicheskij Metod Reaktornoj Kalorimetrii Kalorimetriya Yadernyh Izluchenij

Izotermicheskij Metod Reaktornoj Kalorimetrii Kalorimetriya Yadernyh Izluchenij

Kalorimetr Massivnyj Enciklopediya Po Mashinostroeniyu Xxl

Kalorimetr Massivnyj Enciklopediya Po Mashinostroeniyu Xxl

4

4

Metody I Sredstva Izmereniya Kolichestva Tepla Life Prog

Metody I Sredstva Izmereniya Kolichestva Tepla Life Prog

Kapillyarnyj Kompensacionnyj Differencialnyj Titracionnyj Kalorimetr

Kapillyarnyj Kompensacionnyj Differencialnyj Titracionnyj Kalorimetr

Stokovye Vektornye Izobrazheniya Kalorimetr Depositphotos

Stokovye Vektornye Izobrazheniya Kalorimetr Depositphotos

Source : pinterest.com